专利2
汽车应急启动电子设备聚合物锂电源
咨询热线:400-660-1010
立即咨询
汽车应急启动电子设备聚合物锂电源
咨询热线:400-660-1010
立即咨询
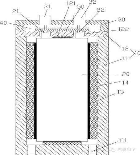
专利二:汽车应急启动电子设备聚合物锂电源
本新型专利公开了一种汽车应急启动电子设备聚合物锂电源,包括电源壳体和聚合物锂电池,所述电源壳体包括底部壳体和盖板,多个聚合物锂电池插套在底部壳体中,相邻两个聚合物锂电池之间夹持有隔热板,底部壳体的内侧壁上固定有弹性缓冲垫,弹性缓冲垫压靠在聚合物锂电池的侧壁,盖板通过螺栓固定连接在底部壳体的上端面上,盖板的底面具有缓冲垫,缓冲垫压靠在聚合物锂电池的顶面上,聚合物锂电池的正极接触头和负极接触头插套在盖板上具有的插孔中,外盖板通过螺栓固定连接在盖板上,外盖板和盖板之间具有空腔,空腔设有多个电极连接板。它体积小,其内部的每个聚合物锂电池相互隔开,使得使用中,相邻两个聚合物锂电池不容易传热,防止爆炸。